Hava Pompası, pozitif deplasman prensibiyle çalışan ve genellikle iki loblu (Roots tipi) yapıya sahip bir hava üfleme ekipmanıdır.
Pompa içerisinde yer alan loblar, motor miline bağlı olarak senkronize bir şekilde ters yönde döner. Dişli (timer gear) sistemi sayesinde loblar birbirine temas etmeden hareket eder ve aralarında hava boşlukları oluşur.
Bu hareket sonucunda hava emilerek pompa içine alınır ve çıkış tarafına iletilir. Blower pompa, özellikle pnömatik taşıma sistemlerinde vakum oluşturma veya basınçlı hava sağlama amacıyla kullanılır.
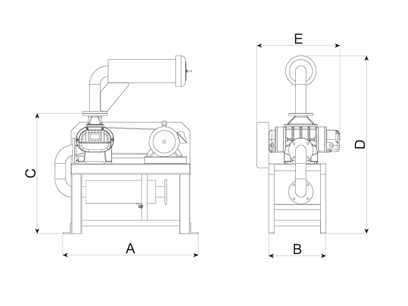
| Model | A | B | C | D | E | F | ØG | ØH | J | K | L | M | N | P | Ağırlık (kg) |
|---|---|---|---|---|---|---|---|---|---|---|---|---|---|---|---|
| SRT BL 050 | 510 | 165 | 15 | 380 | 125 | 15 | 15 | 15 | 360 | 90 | 40 | 550 | 15 | 200 | 100 |
| SRT BL 065 | 570 | 165 | 15 | 380 | 200 | 15 | 15 | 15 | 360 | 95 | 40 | 550 | 15 | 210 | 120 |
| SRT BL 080 | 660 | 220 | 17.5 | 400 | 190 | 25 | 17 | 15 | 400 | 102 | 75 | 750 | 25 | 250 | 200 |
| SRT BL 100 | 785 | 223 | 17.5 | 400 | 290 | 25 | 17 | 15 | 400 | 115 | 75 | 750 | 25 | 250 | 230 |
| SRT BL 125 | 925 | 310 | 22.5 | 555 | 320 | 25 | 21 | 19 | 515 | 155 | 100 | 1000 | 25 | 350 | 450 |
| SRT BL 150 | 1035 | 310 | 22.5 | 555 | 425 | 25 | 21 | 19 | 515 | 155 | 100 | 1000 | 25 | 350 | 500 |
| SRT BL 200 | 1020 | 360 | 32.5 | 685 | 270 | 40 | 23 | 23 | 650 | 187 | 125 | 1400 | 40 | 550 | 810 |
| SRT BL 250 | 1240 | 310 | 32.5 | 685 | 460 | 40 | 23 | 23 | 720 | 225 | 125 | 1400 | 40 | 550 | 1100 |